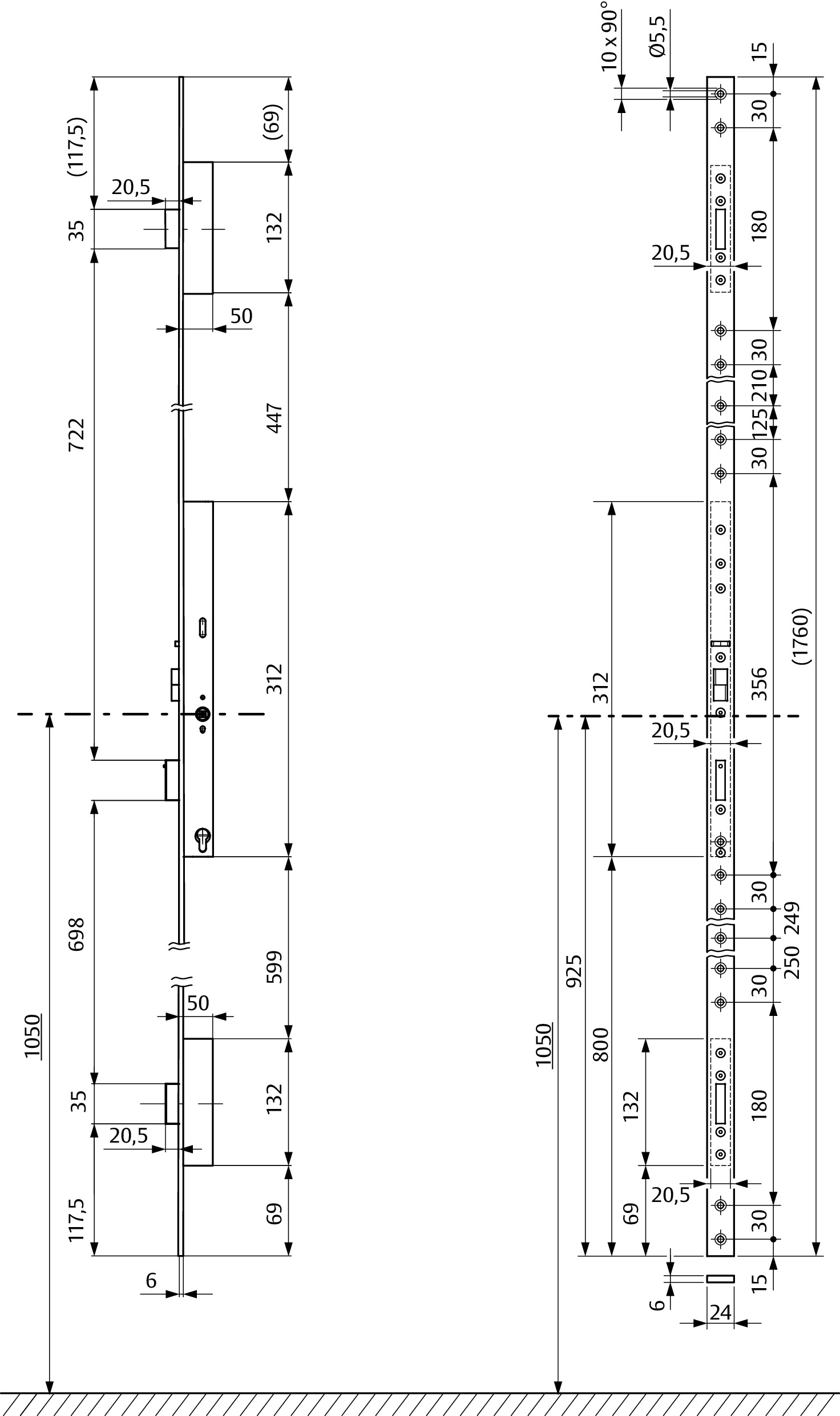
319NB
Euro-Profilzylinder, Drückernuss 9 mm, Entfernung 92 mm
Produktbeschreibung
Die mechanischen Hoch-Sicherheitsschlösser 309N und 319N (Mehrfachverriegelung) zeichnen sich durch die Selbstverriegelung über Kreuzfalle und 20 mm Riegelausschluss aus. Dadurch ist sichergestellt, dass die Tür zu jeder Zeit versicherungstechnisch verschlossen ist, ohne dass sie manuell verriegelt werden muss. Die mechanische Ablaufsteuerung verhindert zuverlässig das ungewollte Ausschließen der Riegel bei geöffneter Tür. Mit den gehärteten Riegeln im Hauptschloss und den Zusatzkästen können sehr hohe Sicherheitswerte in Bezug auf Einbruchhemmung erreicht werden, in geeigneten Türsystemen bis RC4.
Die Panikschlösser sind für 1- und 2-flügelige Türen geeignet. Sie erfüllen die Anforderungen an einbruchhemmende Türen, Feuerschutztüren, Notausgangs- und Paniktüren nach EN 179 und EN 1125. Die Schlösser sind dank universeller Kreuzfalle und umstellbarer Steuerfalle universal DIN links/rechts einsetzbar. Die Hoch-Sicherheitsschlösser umfassen Lösungen mit den Panikfunktionen B und E. Die Panikseite auswärts oder einwärts öffnend ist ebenfalls umschraubbar (Panikfunktion B).
In Verbindung mit dem Panikgegenkasten N1940 lassen sich auch zweiflügelige Vollpaniklösungen bis RC4 realisieren. Für Sonderanwendungen sind Schlossvarianten OHNE Panikfunktion erhältlich.
Vorteile auf einen Blick
- Selbstverriegelung mit Ablaufsteuerung
- Synchrone Selbstverriegelung von Hauptschlosskasten und Zusatzkästen
- Einheitliche Schlosskastenmaße, kompatibel mit 809N/819N (elektromechanisch) und 509N/519N (Motorschloss)
- Umwelt-Produktdeklaration (EPD) nach EN 15804
- DIN links/rechts verwendbar durch universelle Kreuzfalle und umschraubbare Steuerfalle
- Massiver, oberflächengehärteter Schlossriegel mit 20 mm Ausschluss, Querscherbelastung 20.000 N
- Einbruchhemmung: In geeigneten Türsystemen bis RC2 (Einfachverriegelung) und RC4 (Mehrfachverriegelung) erreichbar
- Schlossvarianten für 2-flügelige Türen mit Vollpanikfunktion, Standflügelverrriegelung mit Sicherheits- Obenverriegelung für RC-Türen
- 6 mm Vollstulp für mehr Sicherheit
- Erweiterbar mit 4. Zusatzkasten
- Verschraubungsmöglichkeit für Sicherheitsbeschläge und Ovalrosetten durch das Schloss
- Lieferbar für Euro-Profilzylinder und Schweizer-Rundzylinder
Hinweis
- Alle oben aufgeführten Varianten sind auch mit Schweizer Rundzylinder, Entfernung 94 mm lieferbar!
| Bestellnummer | Stulpform | Stulpstärke |
|---|---|---|
| 319NB001*540000 | Flachstulp kantig | 6 mm |





