819NE
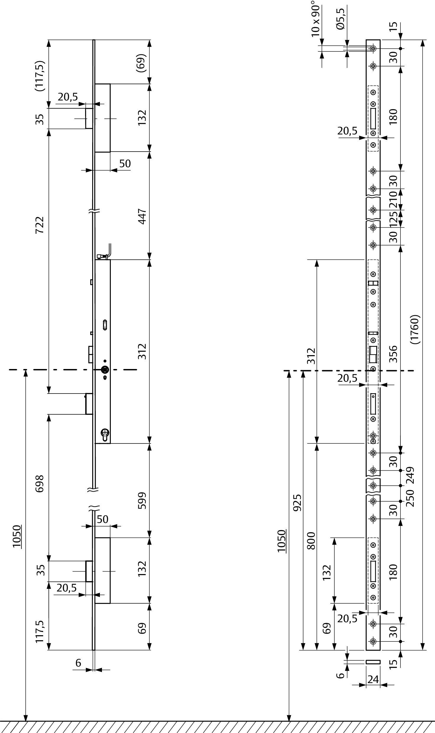
Euro-Profilzylinder, Drückernuss 9 mm, Entfernung 92 mm
Produktbeschreibung
Die drückergesteuerten Hoch-Sicherheitsschlösser und Mehrfachverriegelungen weisen die gleichen mechanischen Eigenschaften und Vorteile wie die Schlösser 309/319 auf.
Die mechanische Selbstverriegelung mit Ablaufsteuerung verhindert zuverlässig das ungewollte Ausschließen der Riegel bei geöffneter Tür. Zusätzlich erfolgt die elektronische Überwachung der aktuellen Zustände der Tür über die integrierte Steuerelektronik. Sie bietet zusätzlich unterschiedliche Überwachungsfunktionen sowie die Ansteuerung für die Drückerkopplung.
In Kombination mit den ASSA ABLOY IO-Modulen können folgende Zustandsabfragen umgesetzt werden:
Türzustand durch Steuerfallenkontakt
Riegel eingeschlossen sowie Riegel ausgeschlossen
Schließzylinderüberwachung
Drückernussüberwachung innen
Drückernussüberwachung außen
Drückernusskopplung
Die elektrische Ansteuermöglichkeit der Mehrfachverriegelung erlaubt den Betrieb mit Zutrittskontrollanlagen oder ähnlichen übergeordneten Systemen. Mit den gehärteten Riegeln im Hauptschloss und den Zusatzkästen können sehr hohe Sicherheitswerte in Bezug auf Einbruchhemmung erreicht werden, in geeigneten Türsystemen bis RC5.
Die Panikschlösser sind für 1- und 2-flügelige Türen geeignet. Sie erfüllen die Anforderungen an einbruchhemmende Türen, Feuerschutztüren, Notausgangs- und Paniktüren nach EN 179 und EN 1125. Dank der universellen Kreuzfalle und der umstellbaren Steuerfalle sind die Schlösser universal DIN links/rechts einsetzbar.
Die Motorschlösser besitzen die Panikfunktion E (Wechselfunktion). In Verbindung mit dem Panikgegenkasten N1940 lassen sich auch zweiflügelige Vollpaniklösungen bis RC4 realisieren.
Vorteile auf einen Blick
- Integrierter Actor und Steuerelektronik zur externen Ansteuerung ohne zusätzliche Steuerung, alternativ Zusatzfunktionen durch das externe IO-Modul
- Hi-O BUS-Technologie zur Anbindung an das ASSA ABLOY Hi-O BUS-System
- Integrierte Überwachungsfunktionen durch berührungslose Sensoren, zur Zustandsabfrage über das externe IO-Modul:
- - Türzustand durch Steuerfallenkontakt
- - Riegel eingeschlossen sowie Riegel ausgeschlossen
- - Schließzylinderüberwachung
- - Drückernussüberwachung innen
- - Drückernussüberwachung außen
- - Drückernusskopplung
- - Alarm/Störung
Hinweis
- Alle oben aufgeführten Varianten sind auch mit Schweizer Rundzylinder, Entfernung 94 mm lieferbar!
| Bestellnummer | Stulpform |
|---|---|
| 819NE001*540000 | F6 x 24 mm |







